2025-11-11 20:16
刘永好旗下新希望集团牵头组建的川商基金再结硕果!曾打造中国首部大型实景历史舞剧《长恨歌》的陕西旅游即将登陆上交所主板。
近日,陕西旅游文化产业股份有限公司(下称“陕西旅游”)通过上交所上市审核委员会2025年第50次审议会议审核,IPO审核状态变更为“提交注册”。中金公司为其保荐机构,拟募资15.55亿元。此次过会,也使陕西旅游成为近五年来A股首家文旅类IPO过会企业。
令人关注的是,陕西旅游股权结构图中,有来自四川的资本力量——成都川商贰号股权投资基金中心(有限合伙)(下称“川商贰号”),其持有陕西旅游15.10%的股份。
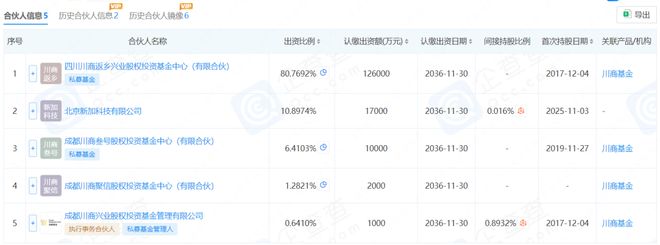
据企查查信息显示,川商贰号成立于2016年12月,出资额为15.6亿元,实控人为刘永好。其执行事务合伙人为成都川商兴业股权投资基金管理有限公司。该基金的合伙人构成包括:四川川商返乡兴业股权投资基金中心(有限合伙)(下称“川商基金”)出资12.6亿元,占比80.77%,为主要出资人;此外,北京新加科技有限公司、成都川商叁号股权投资基金中心(有限合伙)及成都川商聚信股权投资基金中心(有限合伙)等也参与了投资。
公开资料显示,川商基金是由四川省财政出资3亿元组建的省级产业引导基金,浙江、江苏等异地四川商会,以及新希望集团、省国资经营公司、成都立华投资等20余家川商及金融机构积极出资,首期规模达41.4亿元。川商基金委托新希望集团牵头组建专业化管理团队进行募集和管理,主要开展股权投资,整合优质资源,引导川商返乡投资,促进地方经济发展。
招股书(注册稿)显示,陕西旅游成立于2011年4月,于2017年1月在新三板挂牌,主要从事以旅游演艺、旅游索道和旅游餐饮为核心的旅游产业运营。凭借丰富的旅游资源及多年运营积淀,公司已成为以“景区+文化旅游”为核心业务的旅游目的地企业龙头。
陕西旅游的控股股东为陕西旅游集团有限公司,其直接持有公司47.59%的股份,并通过陕西旅游发展股份有限公司间接控制公司6.69%的股份。公司的实际控制人为陕西省政府国有资产监督管理委员会。
业绩方面,2022年度至2024年度以及2025年上半年,陕西旅游主营业务收入占比均在98%以上,主营业务突出。在此期间,公司营业收入分别为2.32亿元、10.88亿元、12.63亿元和5.1亿元,归属于母公司所有者的净利润分别为-7207.28万元、4.27亿元、5.12亿元和2.04亿元。
值得一提的是,陕西旅游2017年至2024年主营业务收入的年均复合增长率近15%,净利润的年均复合增长尊龙凯时中国官网率超20%,展现出良好的盈利能力。
招股书(注册稿)显示,陕西旅游此次IPO,预计发行不超过1933.3334万股,发行后总股本不超过7733.3334万股(不考虑超额配售选择权情形下),占发行后总股本比例不低于25%,预计融资15.55亿元。
陕西旅游表示,本次募投项目,均围绕主营业务进行。募集资金投入项目包括收购太华索道股权项目、收购瑶光阁股权项目、收购少华山旅游索道项目、泰山秀城(二期)建设项目、少华山南线索道项目、太华索道游客中心项目和太华索道服务中心项目。
本文不构成任何投资建议!文中所有观点仅代表被采访者个人立场及个人观点,不具有任何指导和买卖意见!股市有风险,投资需谨慎!
特别声明:以上内容(如有图片或视频亦包括在内)为自媒体平台“网易号”用户上传并发布,本平台仅提供信息存储服务。
最高检公布典型案例:生理盐水和蛋白粉配制成的液体,假冒静注人免疫球蛋白!被告人最高被判处有期徒刑十三年
东契奇38+6+7湖人一节发力击退黄蜂,里夫斯24+5+7布里奇斯34+8+5
实拍斯巴鲁PERFORMANCE-B STI概念车:传奇随时可以复活,无奈量产成本太高

Copyright © 2024 尊龙凯时旅游投资集团 版权所有 备案号:皖ICP备2021009963号